找回密码
 立即注册
澳门威尼斯人
U8
U18
海燕招商
A
蓝盾
e世博
islot.
申博亚洲
B
开云
腾博会
德信
C级广告商
吉祥坊
华体会
查看: 225833|回复: 78

[真人] 【实战有奖】今天在九五至尊娱乐城输掉1200多

[复制链接]

3636

主题

7万

回帖

7078

金币

海燕硕士

积分
210805

万时之王老会员勤奋勋章交易勋章

发表于 2024-6-1 10:33 | 显示全部楼层 |阅读模式

马上注册,结交更多好友,享用更多功能,让你轻松玩转社区。

您需要 登录 才可以下载或查看,没有账号?立即注册

×
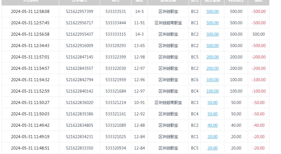
玩这个区块链色子开局玩的还是很不错的,20一注怎么下注都是收米的结果,连红了6局这个时候自信心爆棚了,往往这个时候就是输钱的开始,菠菜想要赢钱真的是不容易做到的 360截图20240601102143571.jpg - J! `5 a2 `1 t* T+ b; t, V4 i" ~
后面的下注就遇到连黑了,开局还是小注20的玩,输掉几局后面就是200块钱的负追,这个时候已经上头了,输钱总是想要快速赢回来损失,500块钱充值到账就是梭哈,直接一个10连黑打的直接没有脾气了 360截图20240601101459661.jpg
4 @& b7 q. v! e$ i7 Z7 m继续充值了500块钱这一把打出来,已经1000块钱了,还想着继续把输掉的赢回来,后面连黑两局本金盈利全部输光光了,今天的下注也就是这样了,总体输掉1200多,已经瘫痪了本金没有了,看来又要休息一段时间了,刚玩了两天还没有赢钱就休息了,也是没办法了 360截图20240601101426938.jpg 360截图20240601101450530.jpg
" [, T* p# \% f3 {9 R
2 z9 O4 U9 |) w7 U( m% B
! W8 |$ c* j. C# b2 B
7 q7 Z- S  J1 R! O$ p, \
回复

使用道具 举报

头像被屏蔽

102

主题

9137

回帖

2659

金币

禁止发言

积分
23011

老会员美女勋章

发表于 2024-6-1 10:43 | 显示全部楼层
提示: 作者被禁止或删除 内容自动屏蔽
回复 支持 反对

使用道具 举报

1389

主题

5万

回帖

1万

金币

钻石用户

积分
158650

万时之王老会员勤奋勋章交易勋章

发表于 2024-6-1 10:59 | 显示全部楼层
输了1000多大洋 也是很多了 期待你下次努力搞回来吧
回复 支持 反对

使用道具 举报

14

主题

1万

回帖

3999

金币

金牌会员

积分
31166

老会员

发表于 2024-6-1 11:22 | 显示全部楼层
如果总是在输钱就不要玩了,还是需要自己悠着点的。
回复 支持 反对

使用道具 举报

112

主题

7827

回帖

2239

金币

银牌会员

积分
19564

老会员

发表于 2024-6-1 11:23 | 显示全部楼层
我是服你的,均注500一手打,很厉害的样子。只能自己黯然神伤了
回复 支持 反对

使用道具 举报

162

主题

1万

回帖

242

金币

金牌会员

积分
21624

老会员交易勋章魅力达人

发表于 2024-6-1 12:07 来自手机 | 显示全部楼层
尔不耳不斤 发表于 2024-6-1 10:43
! c. ~. ~+ |" ]% ?楼主搞这么大亏损一千二还是要休息缓一下,修正心情了

" n( c+ L% A% t1 S  B按照我的叠加负追法,第11手投1200就平了。闊是:
回复 支持 反对

使用道具 举报

162

主题

1万

回帖

242

金币

金牌会员

积分
21624

老会员交易勋章魅力达人

发表于 2024-6-1 12:08 来自手机 | 显示全部楼层
allin 发表于 2024-6-1 10:59
9 A! ~: f. Z/ j! d4 Z$ n( Q8 f输了1000多大洋 也是很多了 期待你下次努力搞回来吧

3 S, P( l8 Q" d  i) _7 z这样的亏损也是能接受的画面,还是带着计算器上场比较美妙。
回复 支持 反对

使用道具 举报

162

主题

1万

回帖

242

金币

金牌会员

积分
21624

老会员交易勋章魅力达人

发表于 2024-6-1 12:09 来自手机 | 显示全部楼层
和XH1278 发表于 2024-6-1 11:224 l% E, m" B1 L4 X8 i
如果总是在输钱就不要玩了,还是需要自己悠着点的。

. S' k% m3 m- D7 a0 |; y最近也是对这款游戏着了魔,才一直在搞的
回复 支持 反对

使用道具 举报

162

主题

1万

回帖

242

金币

金牌会员

积分
21624

老会员交易勋章魅力达人

发表于 2024-6-1 12:10 来自手机 | 显示全部楼层
气味儿 发表于 2024-6-1 11:23
6 ?! [! v9 k! D0 z1 [8 N5 g6 F我是服你的,均注500一手打,很厉害的样子。只能自己黯然神伤了
+ ~# [. N1 j1 o6 I7 |+ U5 Z
您的说法也对,是自己的谁也拿不走,接受现状。
回复 支持 反对

使用道具 举报

3780

主题

8万

回帖

1万

金币

海燕硕士

积分
237908

万时之王老会员精华勋章勤奋勋章

发表于 2024-6-1 12:51 | 显示全部楼层
我是感觉这样的结果也是不太满意好像也是自己没有把握好的
回复 支持 反对

使用道具 举报

3780

主题

8万

回帖

1万

金币

海燕硕士

积分
237908

万时之王老会员精华勋章勤奋勋章

发表于 2024-6-1 12:51 | 显示全部楼层
12358 发表于 2024-6-1 12:10
: C2 y* ]* C7 x6 ^0 H4 i7 d2 s( [您的说法也对,是自己的谁也拿不走,接受现状。
# u; C6 ^8 V- S2 o2 ?0 P& ^$ C
只要自己能够勇于接受这样的情况,就没有什么太大的问题。
回复 支持 反对

使用道具 举报

3780

主题

8万

回帖

1万

金币

海燕硕士

积分
237908

万时之王老会员精华勋章勤奋勋章

发表于 2024-6-1 12:51 | 显示全部楼层
12358 发表于 2024-6-1 12:08
. e- X" v9 N2 J- Q5 E$ [/ P这样的亏损也是能接受的画面,还是带着计算器上场比较美妙。
0 G9 R# q+ \% L, F+ @2 L( p* w
遇到亏损的时候,最好的办法就是不要再玩儿了,先修整一下。
回复 支持 反对

使用道具 举报

3780

主题

8万

回帖

1万

金币

海燕硕士

积分
237908

万时之王老会员精华勋章勤奋勋章

发表于 2024-6-1 12:52 | 显示全部楼层
气味儿 发表于 2024-6-1 11:231 e/ K5 p5 `  A/ i& F- c. H
我是服你的,均注500一手打,很厉害的样子。只能自己黯然神伤了

1 O: l9 P! `+ |7 `" y7 S# w能够玩的这么大,确实在论坛里也没有几个人比得了。
回复 支持 反对

使用道具 举报

1507

主题

7万

回帖

1万

金币

海燕硕士

积分
236334

万时之王老会员精华勋章勤奋勋章交易勋章光影行者

发表于 2024-6-1 13:26 | 显示全部楼层
楼主这一次感觉输的有点多了啊,还是要安慰一下的,希望尽快想办法赢回来吧
回复 支持 反对

使用道具 举报

1507

主题

7万

回帖

1万

金币

海燕硕士

积分
236334

万时之王老会员精华勋章勤奋勋章交易勋章光影行者

发表于 2024-6-1 13:27 | 显示全部楼层
尔不耳不斤 发表于 2024-6-1 10:43+ |1 ^; y% ?8 `" k
楼主搞这么大亏损一千二还是要休息缓一下,修正心情了

% {1 G5 \8 j/ z) T. q* g1 O这个时候还是要选择休息一下的,等到调整好自己的状态再和庄家战斗
回复 支持 反对

使用道具 举报

您需要登录后才可以回帖 登录 | 立即注册

本版积分规则

广告合作|评测有奖|福利汇|论坛简介|钱包合集|手机版|小黑屋|Archiver|海燕论坛

快速回复 返回顶部 返回列表