找回密码
 立即注册
澳门威尼斯人
U8
U18
海燕招商
A
蓝盾
e世博
islot.
申博亚洲
澳门银河
B
开云
腾博会
德信
C级广告商
吉祥坊
华体会
查看: 1300|回复: 94

[彩票] 晚上的彩票非常顺利收米390多块钱

[复制链接]

64

主题

2722

回帖

2223

金币

银牌会员

积分
11299

老会员

发表于 2026-3-14 18:41 | 显示全部楼层 |阅读模式

马上注册,结交更多好友,享用更多功能,让你轻松玩转社区。

您需要 登录 才可以下载或查看,没有账号?立即注册

×
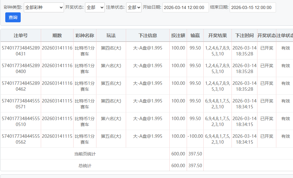
晚上的比特赛车居然能顺利赢到390多块钱,依旧是按100-200-300-450-600的节奏来下注。
& r0 G$ y2 X, ` 1.jpg
) f6 G& v, C4 e( d  T 2.jpg
0 i/ Z* ?) L( |5 i5 W* U; R  l5 z6 L4 y& W
  P1 w, Q% B  D: M( Y- t( o0 t7 }# L
/ F6 O/ w3 v+ s

0 v0 }. d" |/ C) t) x0 T

评分

参与人数 1金币 +6 收起 理由
海燕RG + 6 实战分享

查看全部评分

回复

使用道具 举报

214

主题

1万

回帖

2213

金币

千足金牌会员

积分
44720

老会员

发表于 2026-3-14 19:58 | 显示全部楼层
楼主玩彩票游戏非常有策略,更多结果来看也是有效果收获
回复 支持 反对

使用道具 举报

4

主题

127

回帖

745

金币

高级用户

积分
1905
发表于 2026-3-14 20:06 | 显示全部楼层
还是楼主高啊,这场令人满意   
回复 支持 反对

使用道具 举报

8

主题

2万

回帖

5392

金币

铂金用户

积分
71000

光影行者

发表于 2026-3-14 20:38 | 显示全部楼层
这节奏稳得一批,小步慢跑不贪真能扛住波动,下次试试前几轮压更轻点
回复 支持 反对

使用道具 举报

4

主题

9203

回帖

1万

金币

千足金牌会员

积分
48683
发表于 2026-3-15 02:24 | 显示全部楼层
比特赛车按那阶梯节奏下居然收了390多,顺的时候这注码走得还挺稳啊
回复 支持 反对

使用道具 举报

1585

主题

8万

回帖

2万

金币

海燕硕士

积分
261008

万时之王老会员精华勋章勤奋勋章交易勋章光影行者

发表于 2026-3-15 05:48 | 显示全部楼层
楼主也是非常给力的收米了,非常满意的成绩
回复 支持 反对

使用道具 举报

1585

主题

8万

回帖

2万

金币

海燕硕士

积分
261008

万时之王老会员精华勋章勤奋勋章交易勋章光影行者

发表于 2026-3-15 05:48 | 显示全部楼层
蔬菜沙拉 发表于 2026-3-14 20:38
* s4 m+ b7 |9 \% l4 ?! |* u  r* |这节奏稳得一批,小步慢跑不贪真能扛住波动,下次试试前几轮压更轻点
) b8 z: F; z5 y7 z9 b
我们都是非常喜欢这样的盈利,要祝贺一下楼主的
回复 支持 反对

使用道具 举报

1585

主题

8万

回帖

2万

金币

海燕硕士

积分
261008

万时之王老会员精华勋章勤奋勋章交易勋章光影行者

发表于 2026-3-15 05:48 | 显示全部楼层
思维认知 发表于 2026-3-15 02:249 ^* M+ n( f8 `+ [6 _0 a
比特赛车按那阶梯节奏下居然收了390多,顺的时候这注码走得还挺稳啊

& K/ u2 W$ z: O楼主是个玩彩票的高手,非常让人羡慕的了
回复 支持 反对

使用道具 举报

7

主题

1万

回帖

7276

金币

千足金牌会员

积分
57290

老会员光影行者

发表于 2026-3-15 06:32 | 显示全部楼层
节奏控制得不错,390的收益确实让人心里舒坦,这个下注模式挺稳的
回复 支持 反对

使用道具 举报

0

主题

2441

回帖

4786

金币

银牌会员

积分
16775
发表于 2026-3-15 06:56 | 显示全部楼层
比特赛车这节奏居然能捞到390多?100起步一步步加居然没翻船,手气是真顺啊,羡慕了
回复 支持 反对

使用道具 举报

0

主题

2441

回帖

4786

金币

银牌会员

积分
16775
发表于 2026-3-15 06:57 | 显示全部楼层
思维认知 发表于 2026-3-15 02:24
. ?+ Y$ L  w' N" x7 Q8 ]# G比特赛车按那阶梯节奏下居然收了390多,顺的时候这注码走得还挺稳啊
. d! W) L  W' B  J: W3 a9 @
比特赛车那阶梯节奏居然稳收390多,顺的时候注码走得还挺舒服,看来摸对节奏是真省心,不像有时候瞎搞乱飘
回复 支持 反对

使用道具 举报

2463

主题

8万

回帖

5975

金币

海燕硕士

积分
227166

老会员超级精华精华勋章美女勋章勤奋勋章交易勋章万时之王

发表于 2026-3-15 07:22 | 显示全部楼层
彩票可以赚到这么多的钱也不容易
回复 支持 反对

使用道具 举报

2463

主题

8万

回帖

5975

金币

海燕硕士

积分
227166

老会员超级精华精华勋章美女勋章勤奋勋章交易勋章万时之王

发表于 2026-3-15 07:22 | 显示全部楼层
NO.2 发表于 2026-3-15 06:57" Z( J: B! {( }! L
比特赛车那阶梯节奏居然稳收390多,顺的时候注码走得还挺舒服,看来摸对节奏是真省心,不像有时候瞎搞乱 ...

6 p( D1 y) `/ R' P2 z9 ]有个好的节奏才能稳定的搞钱来的呀
回复 支持 反对

使用道具 举报

2463

主题

8万

回帖

5975

金币

海燕硕士

积分
227166

老会员超级精华精华勋章美女勋章勤奋勋章交易勋章万时之王

发表于 2026-3-15 07:22 | 显示全部楼层
cwx1994 发表于 2026-3-15 05:48  \% v" R# o5 X# ?
楼主是个玩彩票的高手,非常让人羡慕的了
/ X- U6 K# A1 D& e7 {; `; c1 ^5 X
确实也算一个高手吧,这样才能赚到钱
回复 支持 反对

使用道具 举报

2463

主题

8万

回帖

5975

金币

海燕硕士

积分
227166

老会员超级精华精华勋章美女勋章勤奋勋章交易勋章万时之王

发表于 2026-3-15 07:22 | 显示全部楼层
123 发表于 2026-3-14 20:06% a" M" `" J  z/ g4 p0 H+ Y
还是楼主高啊,这场令人满意

7 c7 z# Q; M9 a也没有什么好羡慕的吧,几百块钱而已
回复 支持 反对

使用道具 举报

您需要登录后才可以回帖 登录 | 立即注册

本版积分规则

广告合作|福利汇|论坛简介|钱包教程|手机版|小黑屋|Archiver|海燕论坛

快速回复 返回顶部 返回列表