找回密码
 立即注册
澳门威尼斯人
U8
U18
海燕招商
A
蓝盾
e世博
islot.
申博亚洲
澳门银河
B
开云
腾博会
德信
C级广告商
吉祥坊
华体会
查看: 1238|回复: 89

[彩票] 比特彩票走势不定艰难收904元

[复制链接]

64

主题

2722

回帖

2223

金币

银牌会员

积分
11299

老会员

发表于 2026-2-28 19:42 | 显示全部楼层 |阅读模式

马上注册,结交更多好友,享用更多功能,让你轻松玩转社区。

您需要 登录 才可以下载或查看,没有账号?立即注册

×
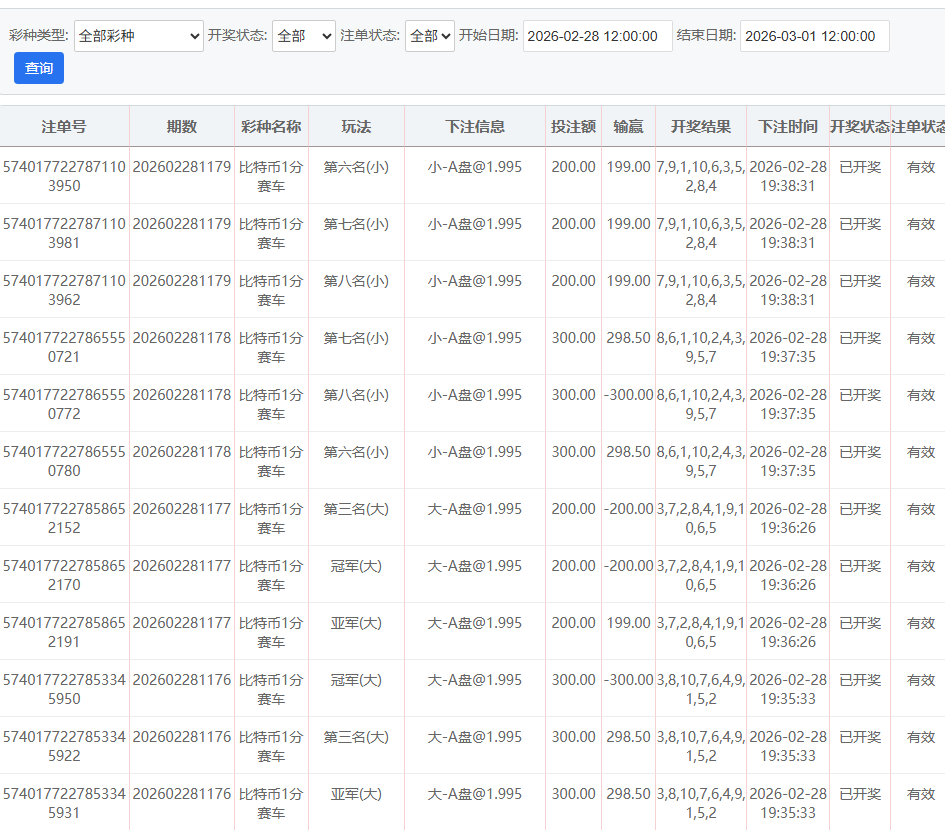
晚上继续着 70-150-200-300-500的战略彩票下注 三定位两面玩法,输了一直往上推到500赢后则从赢时的注码往下推到最低70的位置,投注9000多才收904元;
5 n3 i+ v/ G9 r5 B7 {
9 a5 S, G) h/ q+ }, |0 ?
( W2 j% M7 i5 F: D6 ~4 j 2.png 3.png 1.png
0 ^" g# C+ E+ M

评分

参与人数 1金币 +8 收起 理由
海燕RG + 8 实战分享

查看全部评分

回复

使用道具 举报

3429

主题

2万

回帖

1万

金币

版主

积分
92040

优秀版主老会员版主勋章超级精华

发表于 2026-2-28 19:50 | 显示全部楼层
主要还是要看胜率,否则很难扛得住了
回复 支持 反对

使用道具 举报

214

主题

1万

回帖

2213

金币

千足金牌会员

积分
44720

老会员

发表于 2026-2-28 20:13 | 显示全部楼层
这次幸运的,下次就得要再稳点才行呀
回复 支持 反对

使用道具 举报

1456

主题

1万

回帖

9134

金币

千足金牌会员

积分
49105

老会员财富勋章精华勋章交易勋章热心会员魅力达人

发表于 2026-2-28 20:29 | 显示全部楼层
这样的盈利已经很不错了
回复 支持 反对

使用道具 举报

8

主题

2万

回帖

5392

金币

铂金用户

积分
71000

光影行者

发表于 2026-2-28 20:36 | 显示全部楼层
这节奏太折磨人了,推注推到500才回血,9000砸下去就捞900多,心疼钱包
回复 支持 反对

使用道具 举报

8

主题

2万

回帖

5392

金币

铂金用户

积分
71000

光影行者

发表于 2026-2-28 20:36 | 显示全部楼层
笑看人生 发表于 2026-2-28 20:29
& y# ?# d- x3 H$ W这样的盈利已经很不错了

* p- n! ]" H$ m; u/ s3 t能稳住900+已经算硬核了,这走势能抠出来真不容易
回复 支持 反对

使用道具 举报

8

主题

2万

回帖

5392

金币

铂金用户

积分
71000

光影行者

发表于 2026-2-28 20:36 | 显示全部楼层
hy188820 发表于 2026-2-28 20:13" f. ^4 T9 }, |
这次幸运的,下次就得要再稳点才行呀
9 r3 N/ b' T; n3 B5 d
走势飘忽确实难搞,稳着来才能细水长流,下次别急着冲
回复 支持 反对

使用道具 举报

618

主题

1万

回帖

5500

金币

千足金牌会员

积分
40572

老会员

发表于 2026-2-28 23:27 | 显示全部楼层
如此丰厚的回报令人赞叹,这是楼主的实力
回复 支持 反对

使用道具 举报

618

主题

1万

回帖

5500

金币

千足金牌会员

积分
40572

老会员

发表于 2026-2-28 23:28 | 显示全部楼层
蔬菜沙拉 发表于 2026-2-28 20:36" r2 d4 u. D+ w+ V' S0 h/ Y
走势飘忽确实难搞,稳着来才能细水长流,下次别急着冲
5 R/ i+ ]0 b. o: F

3 p' c) z1 v4 U  w. f能长期保持盈利状态就实属难得
回复 支持 反对

使用道具 举报

4

主题

9203

回帖

1万

金币

千足金牌会员

积分
48683
发表于 2026-3-1 02:25 | 显示全部楼层
这推注玩法投九千多才收九百出头,走势不定真够磨人的,这收益和投入比看着也挺闹心
回复 支持 反对

使用道具 举报

4

主题

9203

回帖

1万

金币

千足金牌会员

积分
48683
发表于 2026-3-1 02:26 | 显示全部楼层
一路前行 发表于 2026-2-28 23:28
0 Q. {+ O$ N# k, s能长期保持盈利状态就实属难得

: M$ N+ R" M# F' D' V走势那么飘能长期稳着赚真不容易,这次收904也算是熬过来了,别贪稳着来就好
回复 支持 反对

使用道具 举报

1585

主题

8万

回帖

2万

金币

海燕硕士

积分
261008

万时之王老会员精华勋章勤奋勋章交易勋章光影行者

发表于 2026-3-1 05:37 | 显示全部楼层
可以赢这么多钱也是非常厉害的了。
回复 支持 1 反对 0

使用道具 举报

1585

主题

8万

回帖

2万

金币

海燕硕士

积分
261008

万时之王老会员精华勋章勤奋勋章交易勋章光影行者

发表于 2026-3-1 05:37 | 显示全部楼层
蔬菜沙拉 发表于 2026-2-28 20:36& }( i5 p0 z6 c* S0 [
走势飘忽确实难搞,稳着来才能细水长流,下次别急着冲

5 D+ @! g3 j, i: n希望是可以能够保持住这样的好运气吧
回复 支持 反对

使用道具 举报

1585

主题

8万

回帖

2万

金币

海燕硕士

积分
261008

万时之王老会员精华勋章勤奋勋章交易勋章光影行者

发表于 2026-3-1 05:37 | 显示全部楼层
一路前行 发表于 2026-2-28 23:27
0 l% ^  c5 z2 b如此丰厚的回报令人赞叹,这是楼主的实力
" X, w; h8 D6 x8 S' I' q9 I; w
楼主确实是非常有实力的玩家了呢。
回复 支持 反对

使用道具 举报

1585

主题

8万

回帖

2万

金币

海燕硕士

积分
261008

万时之王老会员精华勋章勤奋勋章交易勋章光影行者

发表于 2026-3-1 05:37 | 显示全部楼层
一路前行 发表于 2026-2-28 23:28
  C  r& S' ?9 ^: u) [. `+ H能长期保持盈利状态就实属难得

$ e+ m1 G- u8 z4 S  v9 {这个确实是非常难得的事情了呢。
回复 支持 反对

使用道具 举报

您需要登录后才可以回帖 登录 | 立即注册

本版积分规则

广告合作|福利汇|论坛简介|钱包教程|手机版|小黑屋|Archiver|海燕论坛

快速回复 返回顶部 返回列表