找回密码
 立即注册
澳门威尼斯人
U8
U18
海燕招商
A
蓝盾
e世博
islot.
申博亚洲
B
开云
腾博会
德信
C级广告商
吉祥坊
华体会
查看: 25818|回复: 74

[彩票] 【实战有奖】威尼斯人台湾宾果连挂后稳收,亏损2450止步

[复制链接]

77

主题

1万

回帖

6387

金币

千足金牌会员

积分
65194

老会员交易勋章魅力达人

发表于 2025-10-6 16:17 | 显示全部楼层 |阅读模式

马上注册,结交更多好友,享用更多功能,让你轻松玩转社区。

您需要 登录 才可以下载或查看,没有账号?立即注册

×
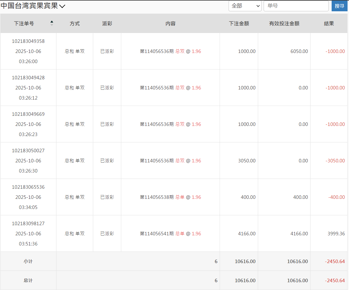
今天下午打了台湾宾果这一轮,整体过程挺曲折,但也算控制住了节奏。大概从下午三点左右开始进场,当时看走势总和“双”连开几期,手痒了,于是轻仓试单。原本打算随便玩玩,结果越看越不对劲,单双频繁切换,让人有点摸不清节奏。
! T. t: k  d6 z5 j4 R. i/ g# p# W( e+ Q
这轮总共下了六单,前几把基本都在试探走势。结果连续几期都反着来,尤其是那笔3050的“总双”,被直接吃掉,账面一口气红到三千多。那一瞬间心态确实有点晃,手差点又去补仓。后来想到之前吃亏的经验,强行让自己停手,看完那期结果就去洗了个脸。" [' n. e5 t" p3 I* o5 V1 a
3 [( c' s5 k: p! K
回来后重新看走势图,发现节奏有点回稳,于是再上两把“总单”试水。最后一单我加到4166,打的第114056541期,终于中回来了3999.36,这口气算是稳了。整盘下来,亏了2450左右,折合人民币不到两千。. f* r7 |. _$ a) r, K. {# q" P

& z! \. O9 s! i' _' U# s  e/ e账面上虽然是负的,但我个人觉得这轮打得比前几次更“成熟”——不是赢多少的问题,而是我终于没再乱追。这次BBIN那边转入了10616,转出回大厅时剩8165,虽然账面亏损,但过程有节制、心态稳,算是一次小考合格。
( C5 R' B5 I- o  Q8 Y$ k% W
3 ?" Z' M# j1 W过去我常常一看挂单就想加码“赢回来”,结果反而输更惨。现在我学会了一件事:赢钱靠机会,止损靠自律。只要不被情绪带走,长期来看反而能少损多赢。
" M' J  \) _$ E6 X0 z5 ?7 @. t6 C! E" H& X+ Q) s" E; {* a$ y# R. X
另外,这轮台湾宾果的走势挺诡异的,总和单双跳得快,没有出现连续7期以上的连号。下午那段时间尤其乱,建议后面玩这盘口的兄弟们注意节奏,不要被短线结果误导。可以像我这样——前几期用小注探路,等走势方向稳定后再加码。* H! i& @. _9 R+ B, i/ [! p" j0 R7 K

* s1 k8 J) p* O8 p0 v$ G这次我还特地看了下注明细,总金额10616,有效投注全打满,亏损-2450.64。虽然是红的,但我反而挺高兴,因为这说明我守住了底线:没追加、没爆仓。
) ?; T7 @4 y; [% ~2 j9 t
" J7 p& s4 J; e' q9 S  D" Z8 t最后总结一句:
3 F  U4 n/ Q9 Y4 t+ d输钱不可怕,乱输才可怕;稳得住,才是真正的赢。+ {8 g6 }" |. V9 K  M8 w$ S
3 o: S$ K' k, C
这两天论坛不少人也在分享台湾盘的节奏,我的经验是——宁可打慢,也不要乱节奏。未来几天我会继续观察走势,等连号或规律性区间出来,再考虑加仓。今天就到这,休息一会,晚上再看情况。1 z$ o+ A3 z% O5 z; q
+ a) ?$ b/ k+ ]
QQ20251006-160203.png QQ20251006-160102.png 0 Q7 R3 z9 w  I

7 {' O* q( |) @2 u2 c5 n4 Z6 p# w( V  B3 E( F
回复

使用道具 举报

1

主题

4994

回帖

4198

金币

金牌会员

积分
23389

老会员

发表于 2025-10-6 16:22 | 显示全部楼层
楼主亏损了还是要止损,回血了一大半还是挺不错了
回复 支持 反对

使用道具 举报

197

主题

6859

回帖

148

金币

银牌会员

积分
13995

老会员交易勋章

发表于 2025-10-6 17:56 | 显示全部楼层
你还玩这个啊,我是真没玩过这类彩票,是彩票没错吧,止损做到位就好
回复 支持 反对

使用道具 举报

7

主题

1万

回帖

6804

金币

千足金牌会员

积分
59302

光影行者

发表于 2025-10-6 19:37 | 显示全部楼层
3050那把真够呛,能忍住不补仓已经赢一半,节奏乱时洗脸是个好招
回复 支持 反对

使用道具 举报

3365

主题

4万

回帖

1309

金币

钻石用户

积分
110862

万时之王老会员勤奋勋章交易勋章

发表于 2025-10-6 19:48 | 显示全部楼层
老哥还是低调点吧, 亏损2450, 也是输太多了, 还是要及时收手,真不敢继续了
回复 支持 反对

使用道具 举报

3365

主题

4万

回帖

1309

金币

钻石用户

积分
110862

万时之王老会员勤奋勋章交易勋章

发表于 2025-10-6 19:49 | 显示全部楼层
蔬菜沙拉 发表于 2025-10-6 19:37) t, C7 Y$ L& U: u
3050那把真够呛,能忍住不补仓已经赢一半,节奏乱时洗脸是个好招
0 |% W' R9 y# j$ X# g2 @
玩菠菜还是量力而行吧, 别玩太大了, 输太多了, 也是很影响心情了。
回复 支持 反对

使用道具 举报

3365

主题

4万

回帖

1309

金币

钻石用户

积分
110862

万时之王老会员勤奋勋章交易勋章

发表于 2025-10-6 19:49 | 显示全部楼层
二电厂哥 发表于 2025-10-6 17:56# ~9 A$ H) C- F" e6 A: U
你还玩这个啊,我是真没玩过这类彩票,是彩票没错吧,止损做到位就好

: c6 D, ?3 N" f: W3 n: H亏损了2450也是输太多了, 这钱能干很多事的了啊, 也是很遗憾了。
回复 支持 反对

使用道具 举报

3365

主题

4万

回帖

1309

金币

钻石用户

积分
110862

万时之王老会员勤奋勋章交易勋章

发表于 2025-10-6 19:50 | 显示全部楼层
shunlifeiup 发表于 2025-10-6 16:22) O7 A2 u; r2 B+ B7 w
楼主亏损了还是要止损,回血了一大半还是挺不错了

( c; u$ J0 E* U3 O( j6 Q损失惨重了呀, 输了这么多, 想回血都是很困难了啊, 还是休息冷静一下吧。
回复 支持 反对

使用道具 举报

339

主题

1537

回帖

4992

金币

银牌会员

积分
13979

老会员交易勋章

发表于 2025-10-6 21:07 | 显示全部楼层
能够及时做到止损啊 还是很不容易的   及时调整吧!
回复 支持 反对

使用道具 举报

50

主题

2万

回帖

5973

金币

千足金牌会员

积分
67956

老会员光影行者

发表于 2025-10-7 02:34 | 显示全部楼层
别急着追,理性把握,稳住节奏,总会有赚钱的时候,节制至关重要
回复 支持 反对

使用道具 举报

50

主题

2万

回帖

5973

金币

千足金牌会员

积分
67956

老会员光影行者

发表于 2025-10-7 02:34 | 显示全部楼层
蔬菜沙拉 发表于 2025-10-6 19:37
9 C2 F3 L8 P/ F. k+ P6 i6 A. k3050那把真够呛,能忍住不补仓已经赢一半,节奏乱时洗脸是个好招
% a4 C9 `" r; c) D+ E
3050那把确实有点狼狈,不过威尼斯人台湾宾果稳住节奏,亏损2450也算是及时止损
回复 支持 反对

使用道具 举报

2301

主题

7万

回帖

7945

金币

海燕硕士

积分
217602

老会员超级精华精华勋章美女勋章勤奋勋章交易勋章万时之王

发表于 2025-10-7 05:46 | 显示全部楼层
输掉了2000多块能够止损离开也是比较理智的一个人吧
回复 支持 反对

使用道具 举报

2301

主题

7万

回帖

7945

金币

海燕硕士

积分
217602

老会员超级精华精华勋章美女勋章勤奋勋章交易勋章万时之王

发表于 2025-10-7 05:46 | 显示全部楼层
whywhy 发表于 2025-10-7 02:345 n" \3 ^" Q& J3 b
3050那把确实有点狼狈,不过威尼斯人台湾宾果稳住节奏,亏损2450也算是及时止损 ...
$ p( I- k# A1 B
反正自己的节奏要把握好,不然输的就是自己的钱
回复 支持 反对

使用道具 举报

2301

主题

7万

回帖

7945

金币

海燕硕士

积分
217602

老会员超级精华精华勋章美女勋章勤奋勋章交易勋章万时之王

发表于 2025-10-7 05:46 | 显示全部楼层
whywhy 发表于 2025-10-7 02:34
* w- O3 \) O4 S# F# j8 D别急着追,理性把握,稳住节奏,总会有赚钱的时候,节制至关重要
4 _2 q/ `! {& t. O% I* `
这个节奏导致的亏损也是没有办法的事,毕竟输了这么多
回复 支持 反对

使用道具 举报

2301

主题

7万

回帖

7945

金币

海燕硕士

积分
217602

老会员超级精华精华勋章美女勋章勤奋勋章交易勋章万时之王

发表于 2025-10-7 05:46 | 显示全部楼层
莫扎特06 发表于 2025-10-6 19:49* n( P: E/ d0 x: N( Y4 Z
亏损了2450也是输太多了, 这钱能干很多事的了啊, 也是很遗憾了。
( w1 {3 R" L: f1 X9 S" n
输的太多也是要想办法把它搞回来,不然也是难受
回复 支持 反对

使用道具 举报

您需要登录后才可以回帖 登录 | 立即注册

本版积分规则

广告合作|评测有奖|福利汇|论坛简介|钱包合集|手机版|小黑屋|Archiver|海燕论坛

快速回复 返回顶部 返回列表