找回密码
 立即注册
澳门威尼斯人
U8
U18
海燕招商
A
蓝盾
e世博
islot.
申博亚洲
B
开云
腾博会
德信
C级广告商
吉祥坊
华体会
查看: 17955|回复: 16

[足球推荐] 2025年7月26日19:35 中超 成都蓉城VS北京国安

 火.. [复制链接]

229

主题

3470

回帖

465

金币

银牌会员

积分
10770

老会员交易勋章

发表于 2025-7-26 11:41 | 显示全部楼层 |阅读模式

马上注册,结交更多好友,享用更多功能,让你轻松玩转社区。

您需要 登录 才可以下载或查看,没有账号?立即注册

×
推荐:小2.75
北京时间20257261935 将迎来中超一场比赛,成都蓉城迎战北京国安, 两队本赛季的表现都还不错,都排在了联赛前几,积分挨得很近,本场势必是一场焦点比赛。
2-1.png
积分分析
目前比赛进行了17轮,成都蓉城当前取得了1043负的战绩拿到了34的积分,目前排名联赛第4,对手北京国安本赛季仅取得了1151负的战绩,近拿到了38的积分,目前排名联赛第2,距离上海申花只差一个胜场。
2-2.png
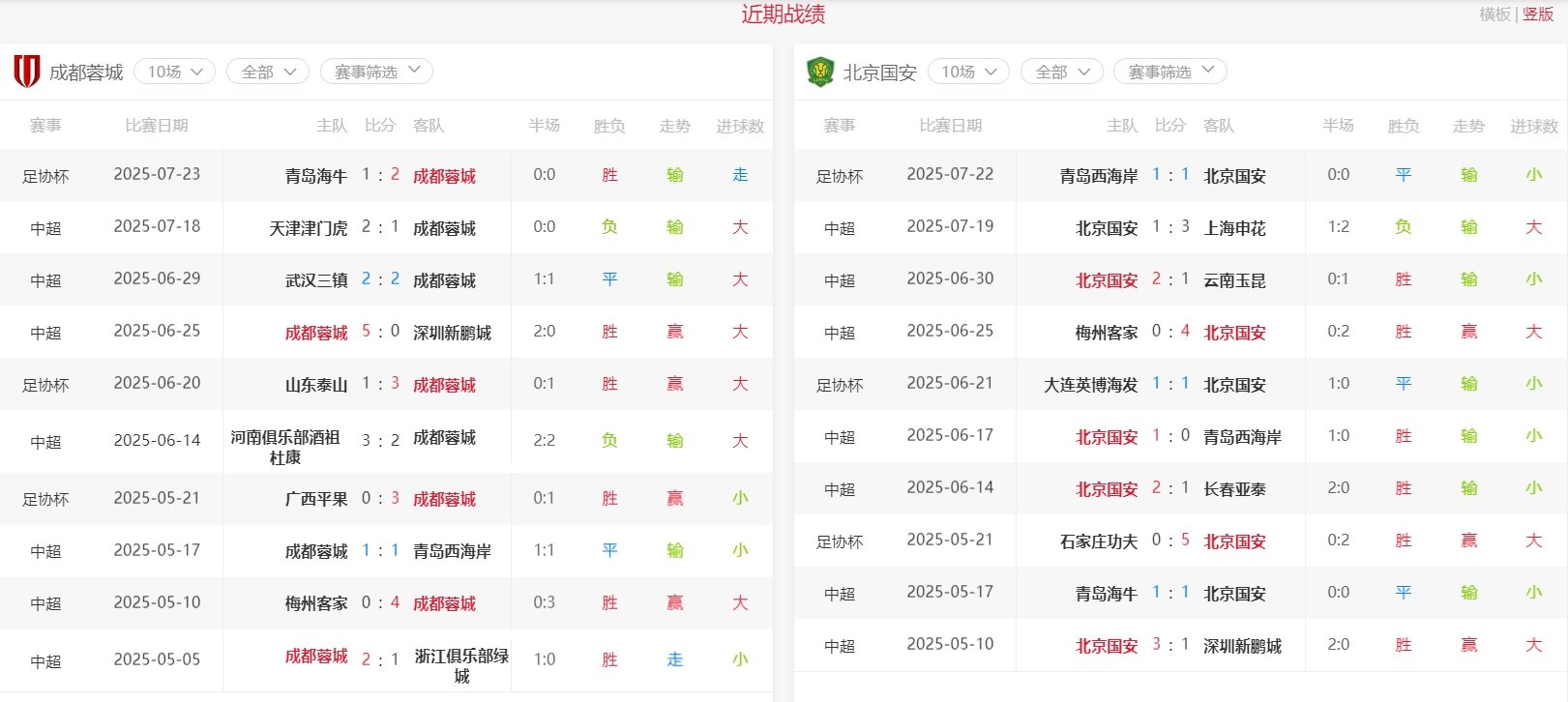
战绩分析:
两队历史交手记录,成都蓉城面对北京国安的比赛取得了134负的战绩,并没有什么优势。近十场比赛成都蓉城取得了622负的战绩,状态还是非常不错的。北京国安近十场比赛取得了631负的战绩也算是可圈可点。
2-3.png 2-4.png
盘口分析:
两队目前的战绩排名都具备冲击冠军的实力,不过这个阶段的比赛肯定都不容有失,本场给到了成都蓉城主场让0.25,也看出了抛开了主场优势,实力差不多,这个时候谁丢分都是罪过,还是防守为主,看好小球。
推荐:小2.75
, ^. c- z% `/ C" y
fakename.png

$ p8 ^+ l' U1 s; A6 u. K9 g$ {
回复

使用道具 举报

480

主题

3万

回帖

4665

金币

铂金用户

积分
84327

老会员美女勋章勤奋勋章交易勋章

发表于 2025-7-26 11:53 | 显示全部楼层
还是比较看好大球的这场,感觉是有机会赢出来了
回复 支持 反对

使用道具 举报

3799

主题

802

回帖

692

金币

版主

积分
7025

老会员版主勋章

发表于 2025-7-26 12:44 | 显示全部楼层
这场中超比赛可是强强对决,进攻大战是肯定少不了的,大球可说是稳单的
回复 支持 反对

使用道具 举报

3749

主题

8万

回帖

1万

金币

海燕硕士

积分
235794

万时之王老会员精华勋章勤奋勋章

发表于 2025-7-26 12:59 | 显示全部楼层
这两个球队的进攻的话确实是不太理想防守方面都做得不错
回复 支持 反对

使用道具 举报

3749

主题

8万

回帖

1万

金币

海燕硕士

积分
235794

万时之王老会员精华勋章勤奋勋章

发表于 2025-7-26 12:59 | 显示全部楼层
海燕admin 发表于 2025-7-26 12:44
$ s$ }+ n1 s; Y6 B这场中超比赛可是强强对决,进攻大战是肯定少不了的,大球可说是稳单的

; M# i- S# S7 B4 n所以就让我们大家一起来看一下,最后到底能不能够打出大球吧
回复 支持 反对

使用道具 举报

619

主题

8210

回帖

5734

金币

金牌会员

积分
27476

老会员交易勋章

发表于 2025-7-26 15:24 | 显示全部楼层
关键这个是主队让0.5球,0.5球经常会分胜负出大球,我是怕了的
回复 支持 反对

使用道具 举报

3369

主题

4万

回帖

1494

金币

钻石用户

积分
111248

万时之王老会员勤奋勋章交易勋章

发表于 2025-7-26 21:47 | 显示全部楼层
成都2比0,全场就两进球了, 小球也是成功命中了, 楼主看得很准了。
回复 支持 反对

使用道具 举报

3617

主题

6万

回帖

3366

金币

海燕硕士

积分
201301

万时之王老会员勤奋勋章交易勋章

发表于 2025-7-27 07:51 | 显示全部楼层
2-0打出来一个小球的结果了,楼主的推荐小球还是很准确的
回复 支持 反对

使用道具 举报

3617

主题

6万

回帖

3366

金币

海燕硕士

积分
201301

万时之王老会员勤奋勋章交易勋章

发表于 2025-7-27 07:52 | 显示全部楼层
莫扎特06 发表于 2025-7-26 21:47
3 V  V  E8 Z- a8 }4 Q! G* }; T成都2比0,全场就两进球了, 小球也是成功命中了, 楼主看得很准了。
% e! c0 H: F$ m/ E, Q% y
这一场比赛全场进了2个球了,猜对了小球也是值得高兴的结果了
回复 支持 反对

使用道具 举报

1374

主题

5万

回帖

8895

金币

钻石用户

积分
155940

万时之王老会员勤奋勋章交易勋章

发表于 2025-7-27 17:06 | 显示全部楼层
成都蓉城2-0北京国安楼主的小球也是稳稳收米了 祝贺一下楼主的啊
回复 支持 反对

使用道具 举报

1374

主题

5万

回帖

8895

金币

钻石用户

积分
155940

万时之王老会员勤奋勋章交易勋章

发表于 2025-7-27 17:07 | 显示全部楼层
初秋2323a 发表于 2025-7-26 11:53
: i+ U6 v0 r9 n7 d% }还是比较看好大球的这场,感觉是有机会赢出来了

0 \+ G6 K5 Y% }3 |# \5 |你的看法也是不准确的啊 希望以后可以多多的向楼主学习啊
回复 支持 反对

使用道具 举报

1374

主题

5万

回帖

8895

金币

钻石用户

积分
155940

万时之王老会员勤奋勋章交易勋章

发表于 2025-7-27 17:07 | 显示全部楼层
莫扎特06 发表于 2025-7-26 21:47
  }9 c, t7 ~7 `* ^& A, W, A# J成都2比0,全场就两进球了, 小球也是成功命中了, 楼主看得很准了。

* Q2 |6 j) f/ f% m  ]成都蓉城和北京国安的防守都不错的 楼主去小球也是非常稳健啊
回复 支持 反对

使用道具 举报

1374

主题

5万

回帖

8895

金币

钻石用户

积分
155940

万时之王老会员勤奋勋章交易勋章

发表于 2025-7-27 17:08 | 显示全部楼层
dollar 发表于 2025-7-27 07:51
0 P, @- y# ^2 |2-0打出来一个小球的结果了,楼主的推荐小球还是很准确的
9 m' R3 m- P/ O6 S* {$ B
楼主的推荐也是非常的靠谱啊 希望你可以积极的跟进啊
回复 支持 反对

使用道具 举报

539

主题

6万

回帖

2万

金币

海燕硕士

积分
224353

老会员精华勋章美女勋章勤奋勋章交易勋章光影行者万时之王魅力达人

发表于 2025-7-28 05:55 | 显示全部楼层
* 成都蓉城        2 - 0        北京國安,这场是2个进球,出来了小球,红了啊
回复 支持 反对

使用道具 举报

2556

主题

5万

回帖

6157

金币

钻石用户

积分
172542

万时之王老会员精华勋章勤奋勋章交易勋章

发表于 2025-7-28 23:45 来自手机 | 显示全部楼层
dollar 发表于 2025-7-27 07:51
0 j) k4 Z8 s5 |! [3 u2-0打出来一个小球的结果了,楼主的推荐小球还是很准确的

0 o  ~2 S8 W0 G/ U; R( ~* m3 A' E这场球比赛结果2:0,全场进了2个球,楼主推荐小2.75球红单了,不错的
回复 支持 反对

使用道具 举报

您需要登录后才可以回帖 登录 | 立即注册

本版积分规则

广告合作|评测有奖|福利汇|论坛简介|钱包合集|手机版|小黑屋|Archiver|海燕论坛

快速回复 返回顶部 返回列表